【平磨机】一种磁性材料物体用平磨机

本实用新型提供一种磁性材料物体用平磨机,包括支撑脚座,支撑柱,机座,支撑杆,顶座,通孔,滤杂网,铁片,收集盒,平磨电机,机罩,平磨轮,可调节磁性材料物体防伤固定座结构,可位置调节支撑杆结构和可防灰尘吸附暂存处理筒结构。本实用新型防伤垫,活动夹座,夹紧杆,固定套管,方头螺栓和手握柄的设置,有利于固定夹装不同型号的磁性材料物体,保证平磨工作效率;滑杆,连接座,挡环,滑动管,调节螺栓和手柄的设置,有利于根据磁性材料物体的厚度进行调节平磨机的高度位置,以保证平磨效率。
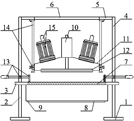
一种磁性材料物体用平磨机,其特征在于,该磁性材料物体用平磨机包括支撑脚座,支撑柱,机座,支撑杆,顶座,通孔,滤杂网,铁片,收集盒,平磨电机,机罩,平磨轮,可调节磁性材料物体防伤固定座结构,可位置调节支撑杆结构和可防灰尘吸附暂存处理筒结构,所述的支撑脚座横向中间位置螺栓连接在支撑柱的下端;所述的支撑柱分别纵向上端螺栓连接在机座的底部四角位置;所述的支撑杆分别纵向一端螺栓连接在顶座的四角位置,另一端分别螺栓连接在机座的上表面四角位置;所述的顶座的内部中间位置开设有通孔(6);所述的滤杂网(7)横向镶嵌在机座(3)的内部中间位置;所述的铁片(8)横向螺钉连接在收集盒(9)的下表面中间位置;所述的收集盒(9)横向螺钉连接在机座(3)的下部中间位置;所述的平磨电机(10)纵向下端螺栓连接在机罩(11)的上端中间位置;所述的平磨轮(12)键连接在平磨电机(10)的输出轴下端;所述的可调节磁性材料物体防伤固定座结构(13)和支撑杆(4)相连接;所述的可位置调节支撑杆结构(14)和机罩(11)相连接;所述的可防灰尘吸附暂存处理筒结构(15)和机罩(11)相连接;所述的可调节磁性材料物体防伤固定座结构(13)包括防伤垫(131),活动夹座(132),夹紧杆(133),固定套管(134),方头螺栓(135)和手握柄(136),所述的防伤垫(131)纵向胶接在活动夹座(132)的内表面中间位置;所述的活动夹座(132)纵向上部螺栓连接在夹紧杆(133)的右端;所述的夹紧杆(133)横向插接在固定套管(134)的内部中间位置;所述的方头螺栓(135)螺纹连接在夹紧杆(133)和固定套管(134)的连接处;所述的手握柄(136)螺纹连接在夹紧杆(133)的外端。